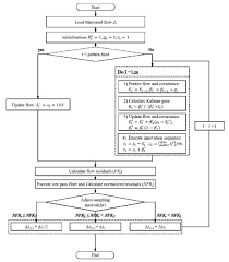
Adaptive kalman filter